категория продукта

Связанные новости

Содержание пуста!

Процесс денитрации SNCR

штат:
Количество:
facebook sharing button
twitter sharing button
line sharing button
wechat sharing button
linkedin sharing button
pinterest sharing button
sharethis sharing button

Descripción del proceso de desnitrificación SCR

Описание процесса денитрификации SCR

Концентрация пыли в дымовом газе, разряжаемая с помощью нагревательной печи с природным газом, будет ниже 10 мг/нм регулярно поддерживать горячую плиту для взрыва до теплового анализа агента SCR; после того, как горячая взрывная печь нагревается примерно до 180 ℃, после распыления аммиа Выпрямитель сетка, входит в модуль катализатора SCR для завершения процесса уменьшения NOx, а NOX сводится к нетоксичным и безвредным N2 в атмосферу. После денитрации дымовой газ охлаждается GGH и выгружается в дымоход Анкет

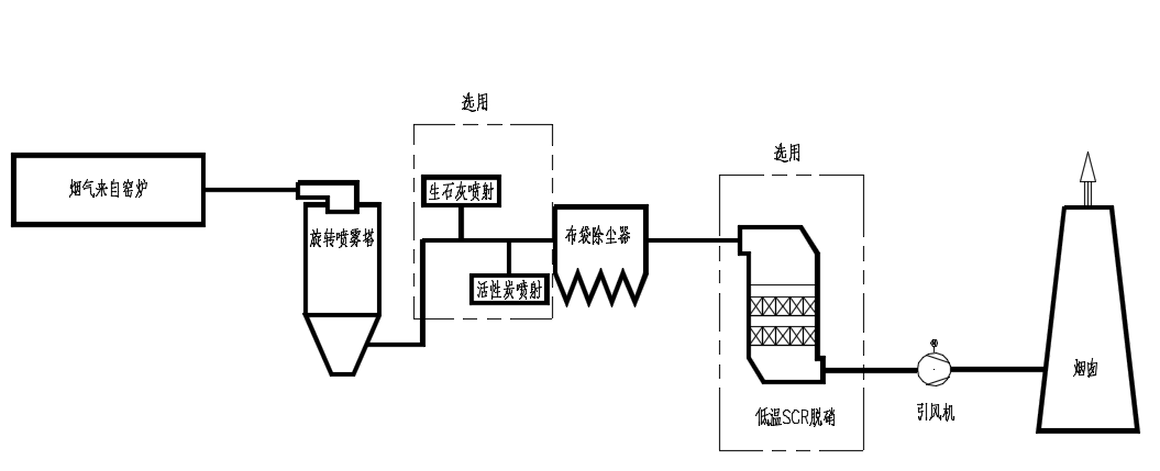
Схема потока процессов SDA



Функции:

1. Рабочая температура низкая                                                                                                                                                                  

2. Высокая эффективность денитрации

3. Не будет вторичного загрязнения

4. Скорость окисления SO2 <1%

Диаграмма структуры реактора SCR

Процесс денитрификации SCR для стальной нагревательной печи

Взять стальную печь в качестве примера

Объем дыма: 51600 нм3/час

Температура дымового газа: 120 ~ 150 ℃

Внутренние акколиты NOX составляли 300 мг/нм3

Эффективность денитрации составила 67%

НЕТX Выбросы в камеры составляли 100 мг/нм3

Процесс "после природного газа нагревательной печи + денитрация SCR + индуцированное вентилятор = стандартный разряд "

Схема схема SCR





Подходит для: котла, цепной печи, циркулирующего псевдоожиженного слоя, вращающейся печи и т. Д.

SNCR и SCR обычно используются в денитрификации дымового газа. По сравнению со SNCR и SCR, SNCR имеет следующие характеристики.

Во -первых, самая большая разница между SNCR и SCR заключается в том, что в процессе денитрификации не используется катализатор, и это не приводит к окислению SO:/SOA, поэтому вероятность засорения воздушного предварительного поколения очень мала.

Во -вторых, во всем процессе нет потери давления, поэтому нет необходимости улучшать под давление головы индуцированного вентилятора, особенно преобразование устройства не нужно трансформировать индуцированный вентилятор, который экономит инвестиции и сокращает Срок строительства.

В -третьих, оборудование, необходимое для SNCR, занимает небольшую площадь, и по сравнению с оборудованием SCR, оно просто, количество строительства уменьшается, а время реализации проекта сокращается. Для блока преобразования это удобнее для реализации проекта в условиях крупных ограничений на участке.


В -четвертых, весь процесс восстановления процесса SNCR проводится в котле, и нет необходимости устанавливать другой реактор.

Ремонтный агент впрыскивается в дымовой газ через сопло, установленную на стене котла.

Сотены расположены в районе перегревателя между камерой сгорания и экономайзером. Тепло котла обеспечивает энергию для реакции, так что NOx здесь уменьшается.

Отмена реактора, опорная стальная структура реактора и его вспомогательный дымовой дымоход уменьшает большую часть инвестиций, снижает большую часть установки и более удобна для будущих капитальных ремонтов и технических работ.


Системный принцип

Стадии обработки оксидов азота в дымовом газе, как правило, делятся на раннюю обработку топлива, контроль процесса сгорания и денитрификацию позднего дымового газа. Предварительная обработка заключается в удалении азота из топлива, отсутствие промышленного применения; контроль процесса сгорания в основном для улучшения состояния сгорания,. Контроль избыточного воздуха, снижение температуры сжигания и т. Д. Технология денитрификации позднего дымового газа в основном представляет собой селективную технологию некаталитического восстановления, технология селективного каталитического восстановления и комбинированная технология денитрификации и разработка интегрированной технологии денитрификации. В добавлении есть микробные методы , метод электронного луча, метод активированного углеродного адсорбции и другие технологии, но они не были применены и продвигаются в инженерии из -за затрат на эксплуатацию, сложности работы и других причин. Наиболее зрелые и широко используемые технологии денитрации SCR рекомендуется для лучших технических маршрут газопогрева е -

Нагревательная печь составляет около 200 ℃. Согласно тем, что объем дымового газа этого проекта невелик, а содержание серы в дымоходе высокое, чтобы обеспечить эффективность денитрации и снизить стоимость проекта. Этот проект планирует оборудовать набор горячих Устройство отопления дымовых газов взрывной печи, нагревая исходный дымовой газ от 200 до 320 ℃.

Установите устройство реакции джитрации SCR, набор хранилища восстановительного агента, пиролиз, равномерного распределения. Дейг дымовой газ входит в температуру денитрификации до 320 ℃ после распыления аммиака, выпрямитель сетки в модуль катализатора SCR, завершите процесс восстановления NOX,, NOx сводится к нетоксичным и безвредным N2 в атмосферу; дымовой газ после денитрации попадает в башню десульфуризации через индуцированный вентилятор для последующей десульфуризации и удаления пыли.


1. Денитрационный реактор является основным оборудованием для денитрации дымовых газов.

2. Меры по предотвращению износа должны быть разработаны для деталей в реакторе SCR, которые легко носить.

3. Реактор оснащен катализатором.

4. Конструкция реактора учитывает замену различных катализаторов в течение жизни.

5. Катализатор и обновление внутри реактора должны быть подняты.

6. Пиролиз мочевины используется для получения аммиака для предотвращения побочных эффектов, вызванных тепловым расширением после вентиляции дыма.

7. Реактор должен быть оснащен достаточным количеством и размером дверей люка и отверстиями для наблюдения.

8. Реакторная оболочка изготовлена ​​из материалов, которые соответствуют требованиям использования

9. Реактор должен убедиться, что конструкция системы адсорбции давления находится в нормальной работе, и утечка воздуха не допускается.

10. Конструкция структуры реактора требует, чтобы оборудование учитывало тепловое расширение и коррозионное сопротивление, чтобы обеспечить стабильную работу оборудования.

11. Внешняя опорная стальная структура реактора соответствует требованиям структурной стабильности.

12. Верхняя система распределения реактора должна быть хорошо запечатана.

13. В корпусе реактора используется стальная пластина толщиной 6 мм, которая может выдерживать внутреннее давление, сейсмическую нагрузку, каталитическую нагрузку, термическое давление и т. Д.

14. Дымость может противостоять следующим нагрузкам: мертвый вес дымохода, нагрузка ветра, нагрузка на землетрясение, накопление пыли, подкладка и веса изоляции и т. Д.


Несу безопасная работа реактора, следует принять следующие меры для адсорбционной башни:

①material: Все оборудование и материалы считаются устойчивыми к коррозии и износу.

② Университетский воздушный поток: программное обеспечение для моделирования потока используется для оптимизации конструкции адсорбционной башни и оптимизации макета входа и выхода дымового газа.

10) Тестовое давление реактора должно быть под нормальным рабочим давлением конструкции адсорбционной системы, и утечка воздуха не допускается.

11) Термическое расширение, коррозионная стойкость и износостойкость следует учитывать при конструкции структуры реактора.

Убедитесь, что стабильная работа устройства.

12) Внешняя опорная стальная структура реактора должна соответствовать требованиям структурной стабильности.

13) Верхняя система распределения реактора должна обеспечить хорошую стеснительность, утечка золы не допускается, и все фланцевые соединения должны иметь прокладки.

14) Корпус реактора усиливается стальной пластинкой толщиной 6 мм и сталью для секции, которая может противостоять внутреннему давлению (конструктивное давление ± 9500), сейсмическую нагрузку, нагрузку на катализатор и тепловое напряжение.

15) Помощь предназначена для выдержания следующих нагрузок: мертвый вес дыхания, нагрузка ветра, нагрузка на землетрясение, накопление пыли, подкладку и массу изоляции и т. Д.

Все дымоходы должны быть оснащены дверями люка и отверстиями для удаления пепла с достаточным количеством и размером, чтобы облегчить техническое обслуживание и проверку дымоходов (включая расширение суставов и перегородки) и удаление накопленной золы.

Кроме того, дверь люка и стена дымовой стены отдельные изоляции, для легкого открытия.

Proceso de denitación de SNCR



предыдущий: 
следующий: 

Дом

О нас

Центр подбора персонала

Электронная почта: business@fzyckj.com
Тел: +86 - 13959503901
Факс: 0591-22579380.
Адрес: Минимальный округ Цин Bai Zhong, Fuzhou, Fujian, Chinaemail
Авторские права © 2021 Fujian Xin Yanchuang Technology Co., Ltd.Карта сайта | Поддержка поLeadong闽 ICP 备 2021018545 号 -1